DS-TMP201-D2 系列电动汽车快速直流充电机,是一款能满足国标充电接口和提供安全可靠的充电业务的产品,直流充电机同时具有良好的人机界面,操作简单方便,采用智能化运行管理、多重保护、极大提高了系统的稳定性和可靠性。电动汽车储能电池类型可为锂离子蓄电池、镍氢蓄电池和铅酸蓄电池,要求储能电池充满电后电压不得高于充电机额定输出电压,可广泛适用于不同电压等级的电动汽车充换电站。
DS-TMP201-D2 系列电动汽车快速直流充电桩主要适合安装于高速公路沿线、电动汽车充换电站、公共停车场、住宅小区停车场、旅游沿线停车场,商业广场及酒店停车场等多种场所,为符合要求的电动汽车提供日常的快速充电储能服务。
● 型号描述
产品型号 | 功能描述 |
DS-TMP201-D2(DC750V120KW) | 电动汽车充电桩,LCD 触摸显示屏、支持刷卡,双枪,额定功率120KW |
● 主要特性
运行地点环境:无导电尘埃、无腐蚀性气体、无爆炸性气体、无强烈震动;

● 技术参数
参数内容 | 技术指标 | |
| 输 入 特 性 | 输入电压 | 380Vac±15% |
输入频率 | 50Hz | |
功率因数 | ≥0.99 | |
电流谐波畸变率 | ≤5% | |
输 出 特 性 | 效率 | ≥95% (满载) |
输出电压范围 | 200~750Vdc | |
恒功率电压范围 | 600~750Vdc | |
输出电流 | 200A | |
输出功率 | 120kW | |
软启动时间 | 3~8S | |
稳压精度 | ≤±0.5% | |
稳流精度 | ≤±1% | |
纹波系数 | ≤±0.5% | |
保 护 特 性 | 输入过压保护 | 495Vac |
输入欠压保护 | 265Vac | |
输入缺相保护 | 具备(模块关机) | |
输出过压保护 | 具备 | |
输出过流保护 | 具备 | |
输出短路保护 | 具备 | |
输出防倒灌保护 | 具备 | |
人 机 操 作 | 信号指示灯 | 待机(绿)、充电(红)、告警(黄) |
急停开关 | 位于易见位置,紧急状况下可切断设备输出 | |
人机界面 | 液晶触摸屏,显示充电信息 | |
刷卡器 | 位于触摸屏的正下方,可刷卡启动/结束充电 | |
其 他 特 性 | 功率分配 | 支持自动智能分配 |
绝缘电阻 | ≥10ΜΩ | |
噪声 | ≤65 dB | |
冷却方式 | 强制风冷 | |
辅助电源规格 | DC12V/10A DC24V/5A 切换 | |
防护等级 | IP54 | |
工作环境温度 | 20℃~50℃; | |
储存环境温度 | -40℃~70℃; | |
海拔高度 | ≤2000 米; | |
相对湿度 | 5%~95%,无凝结; | |
工作环境 | 室内、室外; | |
● 供电插头布置图

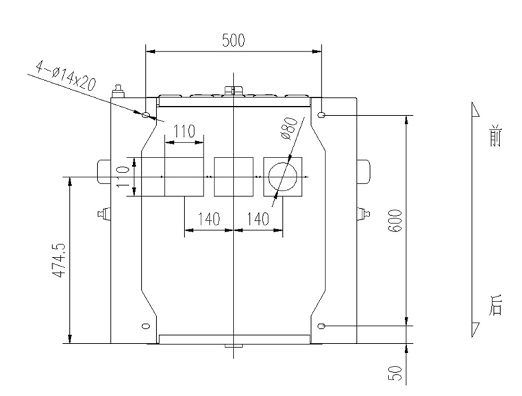
● 外形尺寸

安装孔位(单位:mm):
